Terug
Assortiment
Assortiment
Assortiment
Terug
Kantoorartikelen
Terug
Bureau-accessoires
Terug
Schrijfmateriaal
Documentverwerking
Kantoormachines
Terug
Kantoormachines
Service artikelen
Terug
Promoties
Terug
Promotieproducten
Aandrijftechniek
Terug
Afdichtingen
Terug
O-ringen
Pakkingplaat
Lagers
Terug
Glijbussen
Groefkogellagers
Kogellagers
Lagerhuizen
Pneumatiek
Terug
Koppelingen
Persluchtverzorging
Smering
Terug
Smeernippel, toebehoren
Smeernippels
Tandwielaandrijvingen
Terug
Tandwielen conisch
Ankerwerk
Terug
Bouwverankering
Terug
Stelplaten
Bevestigingsankers
Terug
Betonschroefhulzen
Bevestigingsanker, toebehoren
Boutankers
Koppelbussen
Staafankers
Bouwverankering
Terug
Ankerwerk
Dakverankering
Elementverankering
Kimankers
Kozijnankers
Kramplaten
Leuningankers
Muurplaatankers
Opwaaiankers
Randbekistingankers
Randbeveiliging
Stelplaten
Wandankers dilaterend
Wandankers star
Houtverbindingen
Terug
Balkdragers korte lip
Balkdragers lange lip
Balkdragers licht
Balkdragers zonder lip
Dakverankering
Gordinglassen
Hoekankers
Hoeken
Koppelingen
Raveeldragers
Spijkerplaten
Spouwbladanker
Vloer-kozijnstrippen
Panhaken
Terug
Panhaken
Spouwankers
Terug
Isolatiebevestigingen
Spouwanker hulpstuk
Spouwankers
Transportankers
Terug
Hijsogen
Hijsstroppen
Tuinbeslag
Terug
Anti klimbeugels
Anti klimstrippen
Tuinbeslag
Automotive
Terug
Sloten
Terug
Voertuigsloten
Slangen
Terug
Vloeistofslangen
Veiligheidsuitrusting
Terug
Sleepkabels, -stangen
Gevarendriehoeken
Interieur
Terug
Parkeerbenodigheden
Autostyling
Terug
Velgen
Aanhangersysteem
Terug
Aanhanger aansluitingen
Koppelingen
Brandstofsysteem
Terug
Brandstofsysteemonderdelen
Elektra
Terug
Kabels
Snelstarters-acculaders
Oplaadapparaten
Accu's
Snelstarters-acculaders
Zekeringen
Verlichting
Exterieur
Terug
Beschermdekens
Interieur
Terug
Beschermhoezen
Interieur-accessoires
Motordelen
Terug
Afdichtingen
Sloten
Terug
Voertuigsloten
Beveiliging
Terug
Lockout / Tagout
Terug
Tags
Beveiliging elektronisch
Terug
Hand brandmelders
Besturingen
Hittemelders
Koolmonoxidemelders
Rookmelders
Sensoren
Brandbeveiliging
Terug
Afdichtingen, brandwerend
Brandblussers
Branddekens
Bevestigingsmaterialen
Terug
Spanrubbers
Terug
Spanrubbers
Draadstangen
Terug
Draadstangen
Bedieningselementen
Terug
Kogelknoppen
Handgrepen
Afdekkappen
Terug
Afdekkappen
Assortimenten
Terug
Assortiment sets
Bedieningselementen
Terug
Sterknoppen
Bevestigingssystemen
Terug
Montagerails
Bouten
Terug
Houtdraadbouten
Oogbouten
Slotbouten
Zeskantbouten
Zeskanttapbouten
Bouwverankering
Terug
Ankers
Keilbouten
Keilhulzen
Montagegereedschap
Schroefankers
Spanhulzen
Steigerbevestigingen
Bundelbanden
Terug
Bundelbanden
Bussen
Terug
Spanbussen
Chemische verankering
Terug
Ankerstangen
Capsulesysteem
Injectiesysteem
Montagegereedschap
Montagegereedschap
Draadstangen
Terug
Draadstangen
Klinksystemen
Terug
Blindklinkmoeren
Blindklinknagels
Krammen
Terug
Golfkrammen
Magneten
Terug
Magneten
Moeren
Terug
Borgmoeren
Dopmoeren
Flensmoeren
Gleufmoeren
Inschroefmoeren
Inslagmoeren
Kartelmoeren
Lasmoeren
Oogmoer
Verbindingsmoeren
Vleugelmoeren
Zeskantmoeren
Montagebanden
Terug
Montagebanden
Nagels
Terug
Plintnagels
Ribnagels
Bootnagels
Gasbetonnagels
Draadkrammen
Ankernagels
Bekistingnagels
Bouwplaatnagels
Brads
Daknagels
Draadkrammen
Draadnagels
Duplexnagels
Gripankernagels
Klisjesnagels
Nagels op strip/band
Regelnagels
Schietnagels
Schroefnagels
Stalen nagels
T-nagels
Tochtstripnagels
Nieten
Terug
Nieten
Pennen
Terug
Borgpennen
Borgveren
Splitpennen
Pluggen
Terug
Gasbetonpluggen
Hollewandpluggen
Isolatieplaatpluggen
Kozijnpluggen
Nagelpluggen
Pluggen
Stelpluggen
Ringen
Terug
Afdichtringen
Asborgringen
Borgringen
Carrosserieringen
Kraalringen
Pasringen
Seegerringen
Sluitringen
Sluitschelpen
Stelringen
Veerringen
Volgplaten
Zeilringen
Schroeven
Terug
Montageschroeven
Achterwandschroeven
Afstandschroeven
Anti-inbraakschroeven
Betonschroeven
Glaslatschroeven
Houtbouwschroeven
Houtschroeven
HPL-plaatschroeven
Inserts
Kozijnschroeven
MDF schroeven
Metaalschroeven
Plaatschroeven
Schroeven zelfborend
Schroeven zelftappend
Snelbouwschroeven
Snelbouwschroeven op band
Snelbouwschroeven zelfborend
Spaanplaatschroeven
Spaanplaatschroeven op band
Stelschroeven
Vleugelschroeven
Vlonderschroeven
Sluitingen
Terug
D-Sluitingen
Harpsluitingen
Knevelsluitingen
Spanrubbers
Terug
Spanrubbers
Spieën
Terug
Inlegspieën
Tapes
Terug
Beschermingstapes
Afdichtingstapes
Afplaktapes
Belijningstapes
Isolatietapes
Montagetapes
Reparatietapes
Tapehouders
Tapes anti-slip
Verpakkingstapes
Touw
Terug
Touw
Veren
Terug
Borgveren
Drukveren
Trekveren
Bouwbeslag
Terug
Vouwdeurbeslag
Terug
Vouwdeurgarnituren
Rolluikbeslag
Terug
Rolluikbeslag, toebehoren
Draaikiepbeslag
Terug
Draaikiepbeslag
Deurbeslag
Terug
Smalschilden
Beldrukkers
Briefplaten
Brievenbusafdichtingen
Brievenbusbordjes
Deurbellen
Deurbeslag brandvertragend
Deurbeslag, toebehoren
Deurduwers
Deurgarnituren
Deurgarnituren gatdeel
Deurkloppers
Deurknoppen
Deurkrukken
Deuropvangbeugels
Deurspionnen
Deurstoppers
Greepschilden
Grepen
Huisnummers
Knopkrukken
Knopschilden
Kortschilden
Kruiskrukken
Langschilden
Overslagen
Rozetten
Schuifdeurkommen
Stormkettingen
Symboolplaten
Deurnaalden
Terug
Deurnaald, toebehoren
Deurnaalden binnendeuren
Deurnaalden, brandwerend
Deurnaaldenonderdelen
Garderobesystemen
Terug
Garderobebuis beugels
Garderobebuis haken
Garderobebuis steunen
Garderobegarnituren
Garderobeprofielen
Garderobesystemen
Hoed- en jashaken
Jashaakrekken
Jashaken
Kapstok
Kastroede
Kastroedesteunen
Kledinghangers
Haken
Terug
Handdoekhaken
Handdoekrekjes
Plafondhaken
Insectenwering
Terug
Horren
Kistgrepen
Terug
Kistgrepen
Leuninghouders
Terug
Leuninghouders
Luikbeslag
Terug
Luikringen
Postkasten
Terug
Postkasten
Raambeslag
Terug
Raamsloten opleg SKG**
Bovenraambeslag
Raambeslag, toebehoren
Raamknippen
Raamkrukken
Raamkrukken afsluitbaar
Raamkrukken afsluitbaar SKG**
Raamlichters
Raampennen
Raamscharen
Raamsloten opleg
Raamsloten opleg SKG*
Raamsluitingen
Raamsluitingen afsluitbaar
Raamsluitingen afsluitbaar SKG*
Raamuitzetters
Raamuitzetters SKG**
Stokhaken
Valijzers
Schuifdeurbeslag
Terug
Schuifdeurbeslag zelfsluitend
Afdekkappen
Hefschuifdeurbeslag
Schuifdeurgarnituren
Schuifdeurrail, toebehoren
Schuifdeurrails
Schuifdeurrollen
Veiligheidsbeslag
Terug
Veiligheids rozetten SKG**
Veiligheids kortschilden SKG**
Veiligheids garnituren SKG**
Veiligheids garnituren SKG***
Veiligheids kortschilden SKG***
Veiligheids langschilden
Veiligheids langschilden SKG**
Veiligheids langschilden SKG***
Veiligheids rozetten SKG***
Veiligheids smalschilden SKG**
Veiligheids smalschilden SKG***
Veiligheidsbeslag, toebehoren
Zorgbeslag
Terug
Grepen
Zorgproducten junior
Bouwproducten
Terug
Dakbedekkingen
Terug
Dakbedekkingen onderlagen
Dakbedekkingen bovenlagen
Dakdoorvoeren
Terug
Dakdoorvoeren
Rookgasafvoermateriaal
Terug
Boldraadroosters
Afdekmaterialen
Terug
Afdeknet
Afdekvlies
Beschermmaterialen
Afdichtingsbanden
Terug
Celrubber
Compressiebanden
Dichtingsbanden
Rugvullingsmaterialen
Schuimband
Afvalzakken
Terug
Afvalzakken
Folies
Terug
Beschermfolies
Bouwfolies
Folie, toebehoren
Isolatiematerialen
Terug
Isolatiematerialen
Lood
Terug
Bladlood
Bladloodvervangers
Luiken
Terug
Vloerluiken
Matranden
Terug
Matranden
Plaatmateriaal
Terug
Fineerband
Ramen
Terug
Dakraam-accessoires
Tuimeldakraam
Reparatiemiddelen
Terug
Reparatiespecie
Rookgasafvoermateriaal
Terug
Boldraadroosters
Snelbouwsystemen
Terug
Plafondsystemen
Species
Terug
Betonmortels
Afwerkmortels
Betonmortels
Metselspecies
Stucmortel
Voegspecies
Tuinproducten
Terug
Folies
Vlonders
Ventilatie
Terug
Aansluitbussen
Ventilatiebuis, toebehoren
Bolroosters
Buitenroosters
Dakvoet ventilatie
Deurroosters
Muurroosters
Overdrukroosters
Plintroosters
Schoepenroosters
Schuifroosters
Ventielroosters
Ventilatiebuis
Ventilatieroosters
Ventilatierozetten
Ventilatiesets
Ventilatiestrippen
Ventilatoren
Vloer-gevelventilatie
Vloerroosters
Terug
Vloerroosters
Chemie
Terug
Reiniging
Terug
Reinigingsmiddelen
Anti-vocht
Terug
Schimmelvreters
Vochtverdringers
Vochtvreters
Waterdichting
Autolakken
Terug
Primers
Primers aerosol
Chemische producten
Terug
Gascilinders
Absorptiemiddelen
Afbijtmiddelen
Afdichtmiddelen
Afstrijkmiddelen
Beschermingsmiddelen
Borgmiddelen
Brandstoffen
Luchtverfrissers
Onderhoudsmiddelen
Onderzoeksmiddelen
Ontvetters
Oplosmiddelen
Reinigingsmiddel, toebehoren
Reinigingsmiddelen
Verdunners
Voorbehandelingsmiddelen
Dakcoatings
Terug
Dakcoatings
Dakgootreparatiemiddelen
Dakreparatiemiddelen
Kitten
Terug
Voegenkitten
Acrylaatkitten
Afdichtingskitten
Beglazingskitten
Bitumenkitten
Butyleenkitten
Kit, toebehoren
Kitten brandvertragend
Kitten vuurvast
Lijmkitten
Primers
Siliconenkitten
Voegenkitten
Lijmen
Terug
Lijm, toebehoren
Vloerproducten
Constructielijmen
Contactlijmen
Hobbylijmen
Houtlijmen
Lijmen 2-componenten
Lijmen speciaal
Lijmpatronen
Montagekitten
Polystyreenlijm
PVC lijmen
Secondelijmen
Steenlijmen
Tegellijmen
Vloerbedekkingslijmen
Wandbekledingslijmen
Onderhoudsmiddelen
Terug
Coatings
Onderhoudspray
Schoen onderhoudsmiddelen
Vloeistoffen
Pasta's
Terug
Snijpasta's
Slijppasta's
Afdichtpasta's
Montagepasta's
Smeerpasta's
Stoppasta's
Vulpasta's
PU-schuimen
Terug
PU-schuim, toebehoren
PU-schuimen
Reinigers
Reparatiemiddelen
Terug
Plamuren en vulmiddelen
Plamuur en vulmiddelen, toebehoren
Reparatiecompound
Roestbehandelingsmiddelen
Scheepscoatings
Terug
Lakverven
Smeermiddelen
Terug
Oliën
Smeer- afdichtmiddelen
Smeermiddelen
Smeerpoeders
Smeerspray
Vetten
Verf
Terug
Kleurpasta's
Eén Pot systeem
Beitsen
Betonverven
Deklagen
Eén Pot systeem
Gevelverf
Grondlagen
Grondverven
Grondverven aerosol
Lakverven
Lakverven aerosol
Lakverven, effect
Markeringsverven
Muurverven
Oliën
Reparatieverven
Verf hulpmiddelen
Vloerverven
Waterdichting
Draadmaterialen
Terug
Bewapeningsstaal
Terug
Bewapeningsstaal, toebehoren
Bewapeningsstaal
Bewapeningsstaal, toebehoren
Draad
Terug
Binddraad, ijzerdraad
Lasdraad
Puntdraad
Draadspanners
Terug
Draadspanners
Gaas
Terug
Gaas gelast
Gaas gepuntlast
Gaas geweven
Panelen
Vlechtwerk
Vliegengaas
IJzerdraad
Terug
IJzerdraad
IJzerdraad hard
IJzerdraad zacht
Laselektroden
Terug
Laselektroden
Staaldraad
Terug
Staaldraadkabel
Elektra
Terug
Installatiematerialen
Terug
Montagemateriaal
Isolatie- bescherming
Terug
Isolatietules
Adereindhulzen
Terug
Adereindhuls
Elektra
Terug
Contactstoppen
Armaturen
Terug
Armaturen toebehoren
Aardingsmaterialen
Terug
Aardklemmen
Accu's
Terug
Accu's
Adereindhulzen
Terug
Adereindhuls
Armaturen
Terug
Armaturen toebehoren
Batterijen
Terug
Batterijen
Batterijen oplaadbaar
Batterijladers
Knoopcellen
Bellen en Gongen
Terug
Beldrukkers
Beschermslangen
Terug
Kabelbruggen
Beveiligingen elektrische circuits
Terug
Smeltveiligheden
Bouwaansluitkasten
Terug
Meterkasten
Buisbevestigingssystemen
Terug
Buisclips
Communicatieapparatuur
Terug
Externe communicatieapparatuur
Telefoons
Connectoren
Terug
Connectoren
Contactmaterialen
Terug
Contactmaterialen
Contactmaterialen CEE-Norm
Verloopstekkers schuko®/CEE-Norm
Domotica
Terug
Domotica, toebehoren
Inbouwdozen
Terug
Buisinvoerstukken
Centraaldozen
Inbouwdozen
Installatiebuizen
Terug
Hulpstukken
Hulpstukken
Installatiebuizen
Isolatie- bescherming
Terug
Isolatietules
Gietharsen
Isolatiematten
Kabel
Terug
Kabelmarkering
Verloopkabels schuko®/CEE-Norm
Aansluitsnoeren
Aansluitleidingen
Aansluitsnoeren
Installatiedraden
Rubberkabels
USB kabels
Verlengkabels
Verlengkabels CEE-Norm
Verwarmingskabels
Warmtekrimpkousen
Kabelbevestigingsmaterialen
Terug
Kabelbeugels
Zadels
Kabelhaspels
Terug
Kabelhaspels
Veerkabelhaspels
Kabelmanagementsystemen
Terug
Kabelgoten
Kabelschoenen
Terug
Perskabelschoenen geïsoleerd
Kabelwartels
Terug
Kabelwartels
Kroonklemmen
Terug
Kroonklemmen
Lasdoppen
Terug
Lasdoppen
Lasdozen
Terug
Kabeldozen
Lasdozen
Schakelmateriaal
Terug
Dimmers
Bewegingsmelders
Contactstoppen
Schakelaars
Schakelmateriaal inbouw
Schakelmateriaal opbouw
Schakelmateriaal spatwaterdicht opbouw
Schakelmateriaal, toebehoren
Tijdschakelaars
Transformatoren
Terug
Transformatoren
Verdeelblokken
Terug
CEE verdeelblokken
Hangcontactblok
Verdeelblokken
Verdeelkasten
Terug
Verdeelkasten
Verlichting
Terug
Binnenverlichting
Buitenverlichting
Gasontladingslampen
Gloeilampen
Halogeenlampen
Handlampen
Hoofdlampen
Lampen, toebehoren
LED lampen
Lichtmast
Lichtsnoeren
Looplamp
PL fluorescentielampen
Reflectorlampen
Schijnwerpers
Spaarlampen
TL armaturen
TL fluorescentielampen
TL LED lampen
TL starters
Werklampen
Xenon lampen
Zaklampen
Verwarmingsapparatuur
Terug
Verwarmingsapparatuur
Voedingen
Terug
Netvoeding
Omvormers
Handgereedschappen
Terug
Ruimers
Terug
Boutenscharen
Behanggereedschappen
Terug
Behanggereedschappen
Carrosserie-gereedschappen
Terug
Uitdeukgereedschappen
Tegelzettersgereedschap
Terug
Tegelzettersgereedschap
Spiegels
Terug
Spiegel
Holpijpen
Terug
Holpijpen
Loepen
Terug
Precisieloepen
Demagnetiseringsapparaten
Terug
Demagnetiseringsapparaten
Accu gereedschap
Terug
Accugereedschappen
Messen
Terug
Messen
Accugereedschappen
Terug
Accugereedschappen
Aftekengereedschappen
Terug
Verstekhaken
Schrijfblokken
Afschrijflinialen
Aftekenlakken
Centerpunten
Centreerhaken
Correctiemiddelen
Flenshaken
Kalklijnproducten
Kraspennen
Krijt
Maatlatten
Markeren
Passers
Pennen
Potloden
Schrijfblokken
Schrijfhaken
Stiften
Verstekhaken
Whiteboard artikelen
Winkelhaken
Zwaaihaken
Automotive gereedschappen
Terug
Remsysteemgereedschappen
Automotive gereedschappen diverse
Portiergereedschappen
Automotive gereedschappen diverse
Brandstofsysteem gereedschappen
Carrosseriegereedschappen
Demontagegereedschappen
Hoonapparaten
Inspectiegereedschappen
Klemtangen
Remsysteemgereedschappen
Bankschroeven
Terug
Opzetbekken
Tafelklemmen
Hoogteverstellers
Slijpklemmen
Bankschroef, toebehoren
Bankschroeven
Draaiplaten
Machineklemmen
Beitels
Terug
Koudbeitels
Sloopbeitels
Bits
Terug
Bit, toebehoren
Bits
Bitsets
Blindklinktangen
Terug
Blindklinknageltang, toebehoren
Blindklinktangen
Demontagegereedschappen
Terug
O-ring (de)montagegereedschap
Bandenlichters
Bandsleutels
Bout,- moerverwijderaars
Kabelex
Moerensplijters
Tapeinduithalers
Trekkers
Zekeringtrekkers
Deurklemmen
Terug
Deurklemmen
Dopsleutelgereedschappen
Terug
Bougiesleutels
Dopsleutel, toebehoren
Dopsleutelonderdelen
Dopsleutels
Dopsleutelsets
Ratels
Slagdopsleutels
Slagdopsleutels, toebehoren
Slagdopsleutelssets
Draadborstels
Terug
Staaldraadborstels
Drijvers
Terug
Doorslagen
Pendrijvers
Gereedschapssets
Terug
Gereedschapssets
Grijpgereedschappen
Terug
Grijpgereedschappen
Grijpgereedschappen
Magneetzoekers
HACCP Hygiënische reinigingsgereedschappen
Terug
Stelen
Emmers en deksels
Bezems
Nagelborstels
Watertrekker
Hamers
Terug
Tegelzettershamers
Elektriciënshamer
Loodgietershamers
Kloofhamers
Bankhamers
Bekistinghamers
Combinatiehamers
Hamer terugslagvrij
Hamerkoppen
Hamers, hout
Hamers, koper
Hamers, leer
Hamers, rubber
Ketelsteenbikhamers
Klauwhamers
Kloppers
Koperhamers
Kunststofhamers
Lasbikhamers
Lathamers
Metselaarshamers
Mokers
Nylonhamers
Pen-, bolbankhamers
Stampers
Steigerhamers
Stratenmakershamers
Voorhamers
Houtbewerkingsgereedschappen
Terug
Verzinkboren
Beitels
Gutsen
Hechten
Schaven
Kabeltrekkers
Terug
Trekveren
Kitgereedschappen
Terug
Doseerapparaten
Kitpistolen
Kitstrijkers
Klemgereedschappen
Terug
Klemtangen
Klemtangen
Lijmtangen
Spanklemmen
Lijmgereedschappen
Terug
Lijmmessen
Lijmrollers
Lijmkammen
Lijmverdelers
Machinesleutels
Terug
Carterplugsleutels
Draaistiften
Haaksleutels
Knie- steeksleutels
Kniesleutels
Kruissleutels
Magneetsleutels
Moersleutels verstelbaar
Opsteeksleutels
Pengatsleutels
Pijpsleutels
Pijpsleutelsets
Ring- ratelsleutelsets
Ring- steeksleutels
Ring- steeksleutelsets
Ringsleutels
Ringsleutels open
Ringsleutels plat
Ringsleutelsets
Schakelkastsleutels
Slagsleutels
Soksleutels
Soksleutelsets
Starter en bloksleutels
Steeksleutels
Steeksleutelsets
Stiftsleutels
Stiftsleutelsets
Ventielsleutels
Magneten
Terug
Magneten
Meetgereedschappen
Terug
Schietlood
Schroefmaten
Tasters
Laskalibers
Straalkalibers
Sproeiermeters
Meetlinten
Dieptemeters
Afstandmeters
Afstandsmeter, toebehoren
Detectors
Diktemeters
Drukmeters
Duimstokken
Geluidsmeters
Gradenbogen
Hardheidsmeters
Hoekmaten
Hoekmeters
Inspectiegereedschappen
Kruishouten
Landmetermaten
Linialen
Luchtstroommeters
Meetgereedschappen, toebehoren
Meetklokken
Meetlatten
Meetstandaards
Meetstokken telescopisch
Meetwielen
Micrometer, toebehoren
Multimeters
Nivelleerlatten
Oppervlakteruwheidsmeters
Radiusmeter
Rolbandmaten
Schroefdraadmeters
Schuifmaten
Stroomtangen
Temperatuurmeters
Thermo/hygrometer
Vochtigheidsmeters
Voelermaten- banden
Waterpassen
Metselgereedschappen
Terug
Beitels
Bekistingschrapers
Betonschrapers
Betonverdelers
Bouwemmers
Gevelklemmen
Kantenstrijkers
Metselprofielen
Paleerijzers
Sabels
Schoonmaakborden
Schragen
Spanen
Speciekuipen
Stempels
Troffels
Voegborden
Voegspijkers
Momentgereedschappen
Terug
Meetklokken
Momentgereedschap, toebehoren
Momentschroevendraaiers
Momentsleutel insteekgereedschappen
Momentsleutels
Montagegereedschappen
Terug
Multifunctioneel gereedschap
Gereedschap elektro
Laminaat leggereedschappen
Pijpenbuigers
Terug
Buigtangen
Buigveren
Plooi - ijzers
Terug
Plooi - ijzers
Ponsen
Terug
Gatenponssets
Gatenponsen
Reinigingsgereedschappen
Terug
Afwasartikelen
Glasbewassing
Opraapgereedschap
Autowas producten
Afwasartikelen
Bezems
Blikken
Borstels
Dweilen
Emmers
Glasreinigers
Handdoeken, papier
Leidingenreiniging
Leidingreinigingsveren
Luiwagens
Moppen
Poetsdoeken
Poetslappen
Poetspapier
Poetspapier dispensers
Putscheppen
Raagbollen
Raamwissers
Schrapers
Schrobbers
Schuurlappen
Schuurpadhouders
Sponsen
Steel, toebehoren
Stelen
Stoffers
Stofwissers
Trekkers
Vegers
Werkdoeken
Zemen
Sanitairgereedschappen
Terug
Montagegereedschappen
Radiatorsleutels
Ruimers
Scharen
Terug
Hamerstelen
Betonvlechtijzer-scharen
Allesknippers
Blikscharen
Boutenscharen
Buisscharen
Combischaren
Kabelscharen
Knabbelscharen
Latoenscharen
Scharen
Universeelscharen
Verstekscharen
Schildersgereedschappen
Terug
Afsteekmessen
Beugels
Glassnijders
Kwasten
Penselen
Plamuurmessen
Plamuurrubbers
Roller, toebehoren
Ruitenlichters
Schildersstoffers
Spatels
Stopmessen
Verfhulpmiddelen
Verfrollers
Verfschrapers
Zuigheffers
Schroevendraaiers
Terug
Bitschroevendraaiers
Flexibele schroevendraaiers
Haakschroevendraaiers
Klemschroevendraaiers
Microschroevendraaiers
Microschroevendraaiersets
Priemen
Schroevendraaiers
Schroevendraaiers met verwisselbare kling
Schroevendraaiersets
Slagschroevendraaiers
Slagschroevendraaiersets
Sokschroevendraaiers
Sokschroevendraaiersets
Spanningzoekers
Stubby schroevendraaiers
Trimschroevendraaiersets
T-schroevendraaiers
Schuimpistolen
Terug
Schuimpistolen
Slijpmiddelen
Terug
Handslijpstenen
Aanzetstalen
Kleppenslijper
Slijpsteenscherpers
Wetstenen
Smeergereedschappen
Terug
Jerrycan, toebehoren
Jerrycans
Maatbekers
Oliekan, toebehoren
Oliekannen
Oliespuiten
Opvangbakken
Schenkkannen
Spuitflessen
Trechters
Vatpompen
Vetspuit, toebehoren
Vetspuiten
Snijgereedschappen
Terug
Glassnijders
Glas- en tegelsnijder, toebehoren
Messen
Pijpsnijders
Soldeergereedschappen
Terug
Gasbrander, toebehoren
Gasbranders
Soldeerbouten
Soldeerbouthouders
Soldeerhulpmiddelen
Spangereedschappen
Terug
Taphouders
Tapverlengstukken
Boorklemmen
Conusreinigers
Conusuitdrijvers
Moeren
Opspangereedschappen
Snelwisselhouders
Spantangen
Spantanghouders
Wringijzers
Spiegels
Terug
Spiegel
Stelen
Terug
Hamerstelen
Klauwhamerstelen
Mokerstelen
Statenmakershamerstelen
Voorhamerstelen
Wiggen/spieën
Stoffeerdersgereedschappen
Terug
Vloergereedschappen
Stratenmakersgereedschap
Terug
Egalisatieschuivers
Klinkertrekkers
Putdekselhaken
Trottoirbandtangen
Stukadoorsgereedschap
Terug
Betonschaven
Schuurborden
Spackmessen
Spanen
Stukadoorsschopjes
Tegelzettersgereedschap
Voegrubbers
Tangen
Terug
Rektuletangen
Bedradingstangen
Klepdichtring-tangen
Buigtangen
Kabelsnijtangen
Draadtangen
Spanbandtangen
Aderhulstangen
Borgveertangen
Boutensnijtangen
Combinatietangen
Connectortangen
Draadkniptangen
Elektronicatangen
Grijptangen
Griptangen
Kabelbundelbandtangen
Kabelklemtangen
Kopkniptangen
Krachttangen
Krimptangen
Langbektangen
Mechanicatangen
Moerentangen
Moniertangen
Montagetangen
Multifunctionele tangen
Nijptangen
Ontmantelingsgereedschappen
Pijpentangen
Pincetten
Platbektangen
Platbuigtangen
Plombeertangen
Ponstangen
Punttangen
Radiotangen
Remveertangen
Revolvertangen
Rondbuigtangen
Slangklemtangen
Sleuteltangen
Smeedtangen
Spijkertrekkers
Striptangen
Tangensets
Tangonderdelen
Tegelkniptangen
Telefoontangen
Verbindingstangen
Voorsnijtangen
Wastafelmoertangen
Waterpomptangen
Zeilring- ogentangen
Zijsnijtangen
Zuigerveertangen
Testgereedschappen
Terug
Testgereedschappen, toebehoren
Vijlen
Terug
Handvijlen
Platspitsvijlen
Molenzaagvijlen
Draadvijlen
Blokvijlen
Kettingzaagvijlen
Naaldvijlen
Raspen
Sleutelvijlen
Vijl, toebehoren
Vijlen driekant
Vijlen halfrond
Vijlen rond
Vijlen vierkant
Vijlensets
Zaagvijlen
Vonkvrije gereedschappen
Terug
Pincetten vonkvrij
Beitels vonkvrij
Dopsleutel, toebehoren vonkvrij
Zagen
Terug
Draadzagen
Handzaagbladen
Handzagen
Verstekbakken
Zaagbeugels
Hang- en Sluitwerk
Terug
Sloten
Terug
Meubelsloten
Cilinders
Terug
Demontagegereedschappen
Automatencilinders
Cilinders
Cilinders elektronisch
Postkastcilinders
Schakelcilinders
Veiligheidscilinders SKG**
Veiligheidscilinders SKG***
Hangsloten
Terug
Hangslot, elektronisch
Discussloten
Hangsloten
Hangsloten cilinder
Hangsloten klavier
Hangsloten met cijfer
Ketting- Kabelsloten
Terug
Kabelsloten
Kettingsloten
Kluizen
Terug
Reissafe's
Afstortkluizen
Geldkisten
Kluizen
Sleutelkasten/-kluizen
Scharnieren
Terug
Salondeurscharnieren
Venelite scharnieren SKG**
Deurdrangerscharnieren
Deurveerscharnieren
Dievenklauwen
Duimen
Hengen
Inboorpaumelles
Kogellagerscharnieren
Kogellagerscharnieren SKG**
Kogellagerscharnieren SKG***
Kogelstiftpaumelles
Kogelstiftpaumelles SKG***
Meubelscharnieren
Meubelscharnieren zonder veer
Meubelscharnieren, toebehoren
Nylon lagerscharnieren
Nylon lagerscharnieren SKG***
Paumelles
Paumelles gerold
Pianoscharnieren
Projectscharnieren
Scharnierbeveiliging
Scharnieren
Scharnieren onzichtbaar
Scharnieren SKG**
Scharnieren SKG***
Scharnieren smal
Scharnieronderdelen
Schijflagerscharnier
Schijflagerscharnier SKG ***
Venelite scharnieren
Venelite scharnieren SKG***
Sloten
Terug
Slot sets
Bijzetsloten SKG*
Bijzetsloten SKG**
Cilinder insteek smaldeursloten
Cilinder insteek smaldeursloten SKG**
Cilinder insteeksloten
Cilinder insteeksloten SKG*
Cilinder insteeksloten SKG**
Codesloten
Deuropeners elektrisch
Deursloten elektrisch, toebehoren
Espagnoletsloten
Garagedeursloten
Insteekslot, toebehoren
Insteeksloten
Klavier insteeksloten
Knopsloten
Meerpuntsluitingen
Meerpuntsluitingen SKG**
Meerpuntsluitingen SKG***
Meubelsloten
Opleg bijzetsloten SKG*
Opleg bijzetsloten SKG**
Oplegsloten
Oplegsloten SKG**
Sleutels
Sleuteltoebehoren
Sluit- voorplaten
Sluitkommen
Sluitkommen SKG*
Sluitkommen SKG**
Sluitkommen SKG***
Sluitplaten
Smaldeursloten
Sluitwerk
Terug
Deurautomaten
Deurmagneten
Openingsbegrenzers
Anti-paniekbeslag
Deurdranger armen
Deurdranger, toebehoren
Deurdrangers
Deurkettingen
Deurscharen
Deursluiters
Deurvastzetters
Espagnolet, toebehoren
Espagnoletbeveiligers
Espagnoletten
Espagnoletten SKG**
Grendels
Heksluiters
Insteekgrendels
Kierstandhouder SKG
Kierstandhouders
Klinkstellen
Luiksluitingen
Overvallen
Paniekopener, toebehoren
Panieksluitingen
Raambegrenzers
Schuiven
Sluitingen
Snapsluitingen
Vloerveer, toebehoren
Vloerveren
Toegangscontrolesystemen
Terug
Toegangscontrolesystemen, toebehoren
Huishoudelijk
Terug
Afvalverzameling
Terug
Afvalbakken
Afvalbakken vast
Afvalbakken verrijdbaar
Afvalemmers
Afvalverzamelaars
Afvalzakken
Afvalzakken
Asbakken
Draagringen
Papierbakken
Papierbakken, brandwerend
Drogen
Terug
Drooglijnen
Droog hulpmiddelen
Elektronica
Terug
Camera's
Keetartikelen
Terug
Dranken
Eten
Koffie, toebehoren
Schoonmaakartikelen
Snacks
Toiletpapier
Waterkoelers
Zoetwaren
Ongedierte bestrijding
Terug
Dierenvallen
Instectenlampen
Persoonlijke verzorging
Terug
Persoonlijke verzorging
Toiletpapier
Reiniging
Terug
Reinigingsmiddelen
Matten
Schoonmaakartikelen
Tijdsmeting
Terug
Klokken
Stopwatches
Transportmiddelen
Terug
Fiets, toebehoren
Wassen
Terug
Wasmachine/droger, toebehoren
IJzerwaren
Terug
Bouten
Terug
Zeskantbouten
Dragers
Terug
Dragers
IJzerwaren
Terug
Spiegelbevestigingen
Aanlegringen
Beugels
Bledschroeven
Haken
Krulhaken
Musketonhaken
Ogen
Oog op plaat
Ophangogen
Ringen
Schroefduimen
Schroefhaken
Schroefogen
Stokeinden
Windhaken
Kabels
Terug
Kabelklemmen
Kabeltoebehoren
Spanschroeven
Kettingen
Terug
Victorkettingen
Ketting, toebehoren
Kettingen gekleurd
Kettingen op rol
Scheepskettingen
S-haken
Sierkettingen
Voetkettingen
Wandrailsystemen
Terug
Wandrails
Infrastructuur
Terug
Straatmeubilair
Terug
Stoepbord
Asbakken
Verkeersbordklemmen
Terug
Verkeersborden
Hekbeugels
Verkeersbordbeugels
Vloerplaten
Terug
Vloerplaten
Installatietechniek
Terug
Afdichting
Terug
Afdichtingen
Luchtsnelkoppelingen
Terug
Drukluchtkoppelingen
Tijdelijke voorzieningen
Terug
Tijdelijke watervoorziening
Meters
Terug
Manometers
Leidingmanagementsystemen
Terug
Leidinggoten
Oorklemmen
Terug
Oorklemmen
Binnenriolering
Terug
Binnenrioleringonderdelen
Filters
Terug
Waterfilter
Afsluiters
Terug
Aftappen
Aftapkranen
Beluchterskranen
Stopkranen
Binnenriolering
Terug
Binnenriolering, pvc
Binnenrioleringonderdelen
Buisklemmen
Terug
Stalenbuisklemmen zonder inlage
Buitenriolering
Terug
Buitenrioleringonderdelen
Buizen
Terug
Buis, toebehoren
Drainagesystemen
Terug
Drainagebuizen
Drukleidingsystemen
Terug
Drukleidingsystemen, PE
Fittingen
Terug
Koppelingen
Kniekoppelingen
Afdichtstoppen
Eindkappen
Koppelingen
Lasbochten
Nippels
Pijpnippels
Sokken
Verloopnippels
Verloopringen
Fittingen malleabel
Terug
Kruisstukken
Verloopsokken
Bochten
Knieën
Koppelingen
Nippels
Pluggen
Sokken
Soknippels
T-stukken
Verloopnippels
Hemelwaterafvoer
Terug
Hemelwaterafvoeronderdelen
Dakgoten
Hemelwaterafvoer
Klembanden
Terug
Klemplaten
Klembanden
Klimaatbeheersing
Terug
Klimaatbeheersings gereedschap
Knelkoppelingen
Terug
Eindkoppelingen
Knelringen
Kniekoppelingen
Kniekoppelingen kiwa
Koppelingen
Muurplaten kiwa
Overschuifkoppelingen
Puntstukken
Slangpilaren
T-stukken
Verloopkoppelingen
Y-koppelingen
Kogelkranen
Terug
Kogelkranen
Kogelkranen gas
Kogelkranen volle doorlaat
Koppelingen
Terug
Koppelingen voor PE-water
Brandweerkoppelingen
Koppeling, toebehoren
Persluchtkoppelingen
Snelkoppelingen
Kranen
Terug
Badkamer/keuken kranen
Vlotterkranen
Leidingklemmen
Terug
Clips
Clips
Leidingklemmen
Leidingwatertransport
Terug
Waterleidingbuizen
Luchtsnelkoppelingen
Terug
Drukluchtkoppelingen
Perskoppelingen
Terug
Insteekkoppelingen
Kniekoppelingen
T-koppelingen
Perslucht, toebehoren
Terug
Perslucht koppelingen
Persluchtsystemen
Terug
Persluchtleidingen
Reduceerventielen
Terug
Drukreduceerventielen
Slangen
Terug
PVC slangen
Gasslangen
Persluchtslangen
Persslangen
Spiraalslangen
Ventilatieslangen
Waterslangen
Zuig persslangen
Slangklemmen
Terug
Slangklem assortimenten
Slangklemmen
Slangkoppelingen
Terug
Reparatiekoppelingen
Snelkoppelingen
Kraanaansluitingen
Slangopbergsystemen
Terug
Slangenwagens
Slangenhouders
Slangstukken
Terug
Waterdieven
T-stukken
3-wegstukken
Kraanstukken
Slangkoppelingen
Slangstukken
Slangverbinders
Waterstoppen
Slangtules
Terug
Slangtules
Snelkoppelingen
Terug
Snelkoppelingen
Snelkoppelingen
Soldeerfittingen
Terug
Knieën
Muurplaten
T-stukken
Muurplaatbeugels
Koppelingen
Kappen
Ringen
Verloopsokken
Sproeiers
Terug
Sproeiers
Spuitlansen
Terug
Spuitlansen
Spuitpistolen
Terug
Spuitpistolen
Straalpijpen
Terug
Straalpijpen
Terugslagkleppen
Terug
Terugslagkleppen
Thermometers
Terug
Thermometers
Verwarming
Terug
Radiator, toebehoren
Radiatoren
Voetkleppen
Terug
Voetkleppen
Kantoorartikelen
Terug
Aftekengereedschappen
Terug
Whiteboard artikelen
Bureau-accessoires
Terug
Schrijfmateriaal
Computersupplies en -accessoires
Terug
Computersupplies en -accessoires
ICT en machines
Terug
Diverse kantoormachines
Geheugenopslag
Inbinden en Lamineren
Labelprinters en tapes
Rekenmachines
Snijden en Vernietigen
Inkt en Toner
Terug
Inktjet Cartridges
Linten
Toner Cartridges
Kantoor en opbergen
Terug
Archivering
Diverse
Interieurs
Kaartsystemen
Kantoorbenodigdheden
Mappen
Ordners en ringbanden
Planning en Agenda's
Presenteren
Kantoormachines
Terug
Kantoormachines
Papier en verzenden
Terug
Diverse Papierwaren
Enveloppen
Etiketten
Printpapier
Rollen papier
Schrijf- en notitieblokken
Stempels en Postkamer
Verpakkingsmaterialen
Schrijven en Hobby
Terug
Corrigeren
Hobbyartikelen
Luxe Schrijfwaren
Schrijfwaren
Viltstiften
Kantoorinrichting
Terug
Meubilair
Terug
Tafelonderdelen
Tafels
Bureauonderdelen
Bureau's
Kasten
Kasten
Krukken
Ordnerzuilen
Stoelen
Stoelonderdelen
Tafels
Voetensteunen
Presentatiemiddelen
Terug
Informatiewandsysteem
Keuken artikelen
Terug
Keukengereedschappen
Terug
Keukengerei
Bestek
Broodtrommels
Keukenhulpen
Servetten, papier
Servies
Snijgereedschappen
Zakjes
Keukenmachines
Terug
Koffiefilters
Reinigen
Afkoelen
Opwarmen
Lastechniek
Terug
Las- en snijapparatuur
Terug
Gascilinders
Drukregelaars cilindermontage
Las- snijapparatuur, toebehoren
Las- snijbrandersets
Lasgereedschappen
Snijgereedschappen
Lasbescherming
Terug
Lasdekens
Lasschermen
Laspistolen
Terug
Laspistolen MIG/MAG
Laspistoolonderdeel
Soldeer
Terug
Hardsoldeer
Zachtsoldeer loodvrij
Zachtsoldeer tin/lood
Logistiek
Terug
Verpakkingsmaterialen
Terug
Kunststofverpakkingen
Afbakeningsmiddelen
Terug
Afbakeningsmiddelen
Bebording
Terug
Brandblussers
Branddekens
Brandpreventie
Deurborden
Gebodsborden
Locatieborden
Redding en Evacuatie
Verbodsborden
Verkeersborden
Waarschuwingsborden
Bedrijfswageninrichting
Terug
Bedrijfswagenafsluiting
Extern transport
Terug
Betonstortwagens
Industrie aanhangers
Kruiwagen, toebehoren
Kruiwagenonderdelen
Kruiwagens
Kruiwagens elektrisch
Ladingvastzetsystemen
Wielblokkering
Hijstechniek
Terug
Hefgereedschap
Loopkatten
Hijsketting, toebehoren
Garage equipment
Hefgereedschap
Hijsbanden
Hijsklemmen
Hijstassen
Lieren
Rondstroppen
Takels
Infrastructuur
Terug
Wegenbouw
Intern transport
Terug
Etagewagens
Serveerwagens
Handtrekwagens
Pakketwagens
Afvalbakken
Bakwagens
Etagewagens
Handtrekwagens
Heftafels
Kantelbakken
Pallettrucks
Platen- glaswagens
Platendragers
Platformwagens
Rolplateau's
Serveerwagens
Steekwagens
Tafelwagens
Transport- onderzetrollers
Transportwagens
Vatenhandling
Verrijdbare laadborden
Vork- platformlifter
Werkplaatswagens
Klimmaterieel
Terug
Doorwerksystemen
Ladders
Steigers
Trappen
Opbergmaterialen
Terug
Holsters
Containers
Vaten
Assortimentsbakken
Assortimentsdozen
Etiketen/Labels
Foudralen
Gereedschapshouders
Gereedschapskisten
Gereedschapskoffers
Gereedschapskoppels
Holsters
Koffers
Milieu opbergmiddelen
Montagekoffers
Opbergboxen
Opslagbakken
Spijkerschorten
Tassen
Verhuisdozen
Parkeervoorzieningen
Terug
Parkeerbeugels
Verpakkingsmaterialen
Terug
Blikverpakkingen en vaten
Vlaggen
Terug
Vlaggen
Vlaggenstokken
Vlaggenstokonderdelen
Werkplaatsinrichting
Terug
Beschermdekens
Scheidingswanden
Gereedschapswagens
Gereedschapswanden
Kast, toebehoren
Kasten
Ladekast, toebehoren
Ladekasten
Lagers
Liften
Rolbokken
Stellingen
Stellingonderdelen
Verpakkingsmaterialen
Wegen
Werkbankcomponenten
Werkbanken
Werkplaatsstoelen
Wielen
Terug
Meubelwielen
Wielen met halfelastische rubber band
Wielen met kunststof wiel
Wielen met polyamide loopvlak
Wielen met rubber band
Wielen met vol elastische rubber band
Wielen, los
Machines
Terug
Machine combinatiesets
Terug
Machine combinatiesets
Accu gereedschap
Terug
Freesmachines
Polijstmachines
Spijkerinslagmachines
Heteluchtpistolen
Soldeerbouten
Luchtbehandelingsmachines
Scharen
Accu's
Adapters
Blindklinknageltangen
Boorbreekhamers
Boorhamers
Boormachines
Boorschroefmachines
Buig-en knipmachines
Compressoren
Kitpistolen
Lampen
Lijmpistolen
Machine assortiment
Mengmachines
Multi-machines
Nietmachines
Oplaadapparaten
Persmachines
Pompen
Radio's
Reinigingsmachines
Schaafmachines
Schroefautomaten
Schroevendraaiers
Schuurmachines
Slagmoeraanzetters
Slagschroevendraaiers
Slijpmachines
Snijmachines
Tackers
Tuingereedschap
Vetspuiten
Vetspuiten
Vlechtmachines
Waterpasinstrumenten
Zaagmachines
Elektrisch gereedschap
Terug
Schroefautomaten
Ontdooitransformator
Schroefmachines
Pompen
Verfspuiten
Afwerkspanen
Afzuiginstallaties
Betonmolens
Betontrilnaalden
Boorbreekhamers
Boorhamers
Boormachines
Boormachines
Breekhamers
Buig-en knipmachines
Compressoren
Diamant gereedschap
Draadsnijmachines
Freesmachines
Graveermachines
Heaters
Heteluchtpistolen
Kantenlijmers
Lasapparaten
Lijmpistolen
Luchtbehandelingsmachines
Mengmachines
Multi-machines
Ontstoppers
Pompen
Radio's
Reinigingsmachines
Reinigingsmachines
Schaafmachines
Scharen
Scharen
Schuurmachines
Schuurmachines
Slagmoeraanzetters
Slijpmachines
Slijpmachines
Soldeerbouten
Soldeerstations
Stofverzamelaars
Tackers
Tuingereedschap
Verwarmingsapparaten
Zaagmachines
Zaagmachines
Handbediende machines
Terug
Boormachines
Reinigingsgereedschap
Scharen
Haspelwikkelmachines
Handtackers
Knipmachines
Pompen
Pompen
Snijmachines
Tegelsnijmachines
Zaagmachines
Machine, toebehoren
Terug
Tuingereedschap, toebehoren
Heater, toebehoren
Draaibank, toebehoren
Gas/kruittackers, toebehoren
Waterpasinstrument, toebehoren
Kitpistool, toebehoren
Tacker, toebehoren
Aandrijfmotoren
Afzuiginstallatie, toebehoren
Bedfreesmachine, toebehoren
Betonmolen, toebehoren
Betonslijper, toebehoren
Betontrilnaald, toebehoren
Boorhamer, toebehoren
Boorhouders
Boorhoudersonderdelen
Boorhulzen
Boormachine, toebehoren
Boorschroefmachine, toebehoren
Breekhamer, toebehoren
Compressor, toebehoren
Decoupeerzaagmachine, toebehoren
Draadsnijmachine, toebehoren
Drukspuit, toebehoren
Freesmachine, toebehoren
Hogedrukreiniger, toebehoren
Kabelschaar, toebehoren
Kantenlijmer, toebehoren
Knabbelschaar, toebehoren
Knipmachine, toebehoren
Lasapparaat, toebehoren
Lijmpistool, toebehoren
Luchtbehandelingsmachine, toebehoren
Machine onderstellen
Mengmachine, toebehoren
Multi-machine, toebehoren
Persmachine, toebehoren
Plaatschaar, toebehoren
Pneumatiek, toebehoren
Polijstmachine, toebehoren
Pomp, toebehoren
Schaafmachine, toebehoren
Schroevendraaier, toebehoren
Schuurmachine, toebehoren
Slijpmachine, toebehoren
Soldeerbout, toebehoren
Stofzuiger, toebehoren
Tegelsnijmachine, toebehoren
Transportwagen, toebehoren
Verfspuit, toebehoren
Zaagmachine, toebehoren
Machineonderdelen
Terug
Knipmachineonderdelen
Koolborstels
Machineonderdelen
Motorisch gereedschap
Terug
Diamant gereedschap
Pompen
Zaagmachines
Tuingereedschap
Afwerkspanen
Betonmolens
Compressoren
Generatoren
Heaters
Slijpmachines
Trilplaten
Tuingereedschap
Vlindermachines
Pneumatisch gereedschap
Terug
Schuurmachines
Spuitpistolen
Gas/kruittackers
Persluchtsets
Bandenspanningsmeters
Blaaspistolen
Blindklinknageltangen
Boormachines
Hakhamers
Hogedrukspuiten
Kitpistolen
Kitpistolen
Luchtslanghaspels
Naaldbikhamers
Ratelsleutels
Schroevendraaiers
Slagmoersleutels
Slijpmachines
Spuitpistolen
Straalpistolen
Tackers
Verfspuiten
Vetpompen
Zaagmachines
Stationair machines
Terug
Afzuiginstallaties
Boormachines
Boormachines
Draadsnijmachines
Snelstarters-acculaders
Werkbankslijpmachines
Zaagmachines
Zaagmachines
Zandstraalcabines
Meubelbeslag
Terug
Ladebeslag
Terug
Ladegeleiders
Ladegeleiders kogelloopwerk
Ladegeleiders telescoop
Ladegrepen
Meubelbeslag
Terug
Meubelbescherming
Meubelgrepen
Meubelknoppen
Meubelpoten
Meubelscharen
Meubelscharnieren
Meubelverbindingen
Terug
Meubelverbindingen
Kleding & PBM
Terug
Gelaats,- en gehoorbescherming
Terug
Vizier met oorkappen
Kniekussens
Terug
Kniebeschermers
Reparatiemiddelen
Terug
T-shirts
Ademhalingsbescherming
Terug
Aanblaassystemen draagbaar
Aanblaassystemen stationair
Aanblaassystemen, toebehoren
Gelaatmasker filters
Halfgelaatsmaskers
Stofmaskers
Vluchtmaskers
Volgelaatsmaskers
Disposables
Terug
Handbescherming wegwerp
Hoofdbescherming wegwerp
Kleding wegwerp
Voetbescherming wegwerp
EHBO
Terug
Beademingsprodukten
Brancards
Defibrillatoren
EHBO-gereedschappen
Medicatie
Ontsmetting
Oogdouches
Oogspoelflessen
Reddingsdekens
Verbandmiddelen
Verbandtrommels
Gehoorbescherming
Terug
Oorkap, toebehoren
Oorkappen
Oorplugdispensers
Oorpluggen
Otoplastieken
Gelaatsbescherming
Terug
Gelaatsscherm, toebehoren
Gelaatsschermen
Gelaatsschermonderdelen
Handbescherming
Terug
Handschoenen
Handschoenen chemisch bestendig
Handschoenen koudewerend
Handschoenen, mechanische bescherming
Lashandschoenen
Werkhandschoenen
Hoofdbescherming
Terug
Petten
Caps
Hoofddoeken
Mutsen
Stootpetten
Veiligheidshelm, toebehoren
Veiligheidshelmen
Huidbescherming
Terug
Huidreiniging
Huidcrème
Huidverzorging
UV-crème
Lasbescherming
Terug
Lashelmen
Lasmaskers
Lasruiten
Lasschilden
Spatruiten
Lichaamsdelenbescherming
Terug
Kniebeschermers
Nekbeschermers
Oogbescherming
Terug
Lasbrillen
Beschermbrillen
Bezoekersbrillen
Bril, toebehoren
Stofbrillen
Veiligheidsbrillen
PBM veiligheidsboxen
Terug
PBM Veiligheidsboxen
Sport en vrijetijdskleding
Terug
Jassen
Broeken
Valbeveiliging
Terug
Gordels
Lijnen met valdemper
Sluitingen
Valbeveiliging, toebehoren
Valbeveiligingssets
Valstopapparaten
Voetbescherming
Terug
Schoen onderhoudsmiddelen
Jassen
Klompen
Laarzen
Schoen, toebehoren
Sokken
Veiligheidslaarzen
Veiligheidsschoenen hoog
Veiligheidsschoenen laag
Werkschoenen
Werkkleding
Terug
Mutsen
Hittekleding
Veiligheidshelmen
Caps
Colberts
Veiligheidsschoenen laag
Kleding zuurbestendig
Schoen, toebehoren
Veiligheidsschoenen hoog
Amerikaanse overalls
Beschermmouwen
Blouses
Bodywarmers
Bosbouwkleding
Brandvertragende signaalkleding
Chemiekleding
Colberts
Drijfpakken
Gilets
Halsdoeken
Jassen
Kleding brandvertragend
Kleding, toebehoren
Korte broeken
Laskleding
Multi-norm kleding
Onderkleding
Overalls
Polo's
Polosweaters
Pullovers
Regenkleding
Rokken
Schorten
Shirts
Signaalkleding
Stofjassen
Sweaters
Truien
T-shirts
Vesten
Waadpakken
Werkbroeken
Werkhemden
Profielen
Terug
Afdichtingsprofielen
Terug
Afdichtingsprofielen
Afdichtingsprofielen, brandwerend
Kaderprofielen
Beschermingsprofielen
Terug
Beschermingsprofielen
Bouwprofielen
Terug
Afdekprofielen
Bekistingsprofielen
Dakrandprofielen
Hoekbeschermingsprofielen
Horprofielen
Lekdorpelprofielen
Plaatprofielen
Plankdragerprofielen
Profiel, toebehoren
Profielen standaard
Schroten
Stucprofielen
Tafelrandprofielen
Tegelprofielen
Trapprofielen
Waterslagen
Platen
Terug
Platen geperforeerd
Platen glad
Preventieprofielen
Terug
Raamprofielen anti-inbraak SKG*
Deurprofielen anti-inbraak
Deurprofielen anti-inbraak SKG*
Deurprofielen anti-inbraak SKG* / SKG V
Doorvalbeveiliging, toebehoren
Doorvalbeveiligingen
Raampreventieprofiel, toebehoren
Raamprofielen anti-inbraak
Raamprofielen anti-inbraak SKG**
Tochtprofielen
Terug
Dorpelprofielen
Dorpelstrips
Tochtprofielen
Sanitair
Terug
Badkamer
Terug
Badkamer-accessoires
Douche-accessoires
Keramiek
Terug
Toiletten
Kranen
Terug
Badkamerkranen
Kraan, toebehoren
Toiletten
Terug
Toilet, toebehoren
Toilet-accessoires
Tuingereedschappen
Terug
Verticuteermachines
Terug
Verticuteermachines
Schepnetten
Terug
Schepnetten
Outdoor
Terug
Kampeerbenodigheden
Kniekussens
Terug
Kniekussen
Rieken
Terug
Rieken
Leidingprikkers
Terug
Leidingprikkers
Sappies
Terug
Sappies
Baggerbeugels
Terug
Baggerbeugels
Batsen
Terug
Schepbatsen
Batsen
Steekbatsen
Beplantingsartikelen
Terug
Opbindartikelen
Besproeiingstechniek
Terug
Waterverdelers
Broesen
Sprinklersystemen
Sproeiers
Bijlen
Terug
Bijlen
Boombijlen
Keukenbijlen
Kloofbijlen
Drukspuiten
Terug
Drukspuiten
Plantenspuiten
Gieters
Terug
Gieters
Grondboren
Terug
Grondboren
Palentrekkers
Verlengstukken
Hakken
Terug
Hakken
Harken
Terug
Asfaltharken
Bladharken
Bouwharken
Gazonharken
Hooiharken
Tuinharken
Heien
Terug
Heien
IJsbrekers
Terug
IJsbrekers
Krabbers
Terug
Krabbers
Meststoffen
Terug
Zaden
Onkruidstekers
Terug
Onkruidstekers
Opbergsystemen
Terug
Opbergsystemen
Outdoor
Terug
Kampeerbenodigheden
Pikhouwelen
Terug
Pikhouwelen
Scharen
Terug
Heggenscharen
Schaar, toebehoren
Snoeischaren
Takkenscharen
Schoffels
Terug
Schoffels
Schoppen
Terug
Kabelschoppen
Ballastschoppen
Betonschoppen
Steekschoppen
Zandschoppen
Schuivers
Terug
Sneeuwschuivers
Sleggen
Terug
Sleggen
Spades
Terug
Boomspades
Draineerspades
Spades
Zwanenhalsspade
Stelen
Terug
D-stelen
Steel universeel
Merkusspadestelen
Batsstelen
Bijlstelen
Combistelen
Harkstelen
Kloofbijlstelen
PD stelen
Pikhouweelstelen
Schoffelstelen
Schopstelen
Sleggestelen
Sloothaakstelen
Spadestelen
Stelen
Terug
Schoffelstelen
Stokhouders
Terug
Stokhouders
Strooiwagens
Terug
Strooiwagens
Strooizoutopslagbakken
Terug
Strooizoutopslagbakken
Tegelkrabbers
Terug
Voegenkrabbers
Vorken
Terug
Aardappelvorken
Hooivorken
Mestvorken
Puinvorken
Spitvorken
Vuilgrijpers
Terug
Vuilgrijpers
Zagen
Terug
Stokzagen
Snoeizagen
Tuinzagen
Zeisen
Terug
Zeisen
Verspanende gereedschappen
Terug
Draadreparatiegereedschappen
Terug
Draadreparatietappen
Keermessen
Terug
Keermessen, HM
Beitels
Terug
Koudbeitels
Beitels
Terug
Koudbeitels
Boren
Terug
Betonboren
Boorkronen
Boren, toebehoren
Borensets
Diamantboren
Dozenboren
Houtboren
Kernboren
Metaalboren
Multiboren
Scharnierboorsystemen
Steenboren
Tegelboren
Verzinkboren
Bovenfrezen hout
Terug
Kwartrondfrezen
Kantenfrezen
Messingfrezen
Zwaluwstaartfrezen
T-gleuffrezen
Afrondfrezen
Bolprofielfrezen
Fasefrezen
Frees, toebehoren
Freesboren
Frezen met kogellager
Frezensets
Getrapte frezen
Graveerfrezen
Groeffrezen
Groefzagen
Holprofielfrezen
Houtraspen
Lijstfrezen
Profielfrezen
Schijffrezen
V-groeffrezen
Draadsnijgereedschappen
Terug
Roltappen
Boortappen
Draadsnijhouders
Draadsnijsets
Draadsnijtoebehoren
Handtappen
Machinemoertappen
Machinetappen
Snijmoeren
Snijplaten
Draaigereedschappen
Terug
Frezen
Steekplaathouders
Wisselplaten
Freesgereedschappen hout
Terug
Groeffrezen
Frezen metaal
Terug
Gatfrezen
Kopverzinkfrezen
Mantelkopfrezen
Schijffrezen
Spiebaanfrezen
Schachtfrezen
Ruwfrezen
Radiusfrezen
T-gleuffrezen
Hoekfrezen
Concaaffrezen
Torusfrezen
Eensnijders
Frezensets
Stiftfrezen HM
Stiftfrezen HSS
Verzinkfrezen
Vingerfrezen
Gatzagen
Terug
Gatzaag, toebehoren
Gatzagen
Ontbraamgereedschappen
Terug
Ontbraamschijven- wielen
Handontbramers
Polijstmiddelen
Terug
Poetsschijven
Polijstmaterialen
Staalwol
Ruimers
Terug
Handruimers
Machineruimers
Schaafbeitels
Terug
Schaafbeitels
Schuurmiddelen
Terug
Slijpbanden
Schuursets
Klitschuurbladen
Klitschuurschijven
Minischuurschijven
Schuurbanden
Schuurblokken
Schuurborstels
Schuurlinnen
Schuurpads
Schuurpapier
Schuurschijven
Slijpschijven
Spiraalbanden
Steunschijven
Schuurmiddelen non-woven
Terug
Klitschuurschijven
Schuurwielen
Polijst-lamellenschijven
Schuurbanden
Handpads
Klitschuurschijven
Reinigingsschijven, non-woven
Schuurschijven
Schuurvellen
Schuurvlies
Slijpmiddelen
Terug
Afbraam- doorslijpschijven
Slijpstenen, bakeliet gebonden
Afbraamschijven
Diamant schijven
Doorslijpschijven
Draadborstels
Lamellenrollen
Lamellenschijven
Schuurhulzen
Slijpschijf, toebehoren
Slijpschijven
Slijpstenen op stift
Slijpmiddelen
Terug
Doorslijpschijven
Draadborstels
Schuurhulzen
Slijpschijven
Zaagbladen
Terug
Cirkelzaagbladen
Decoupeerzaagbladen
Diamant zaagbladen
Lint-, bandzagen
Multimachine zaagbladen
Reciprozaagbladen
Zaagblad, toebehoren
Woondecoratie
Terug
Gordijnophangsystemen
Terug
Gordijnrail
Gordijnrail, toebehoren
Gordijnroede, toebehoren
Schilderijophangsystemen
Terug
Schilderijrail
Schilderijrail, toebehoren
Results
Filters
Load more results...
Diensten
Over Breur
Back
Over Breur
Sectoren
Duurzaamheid
Help
Back
Veelgestelde vragen
Klantenservice
Zoek winkel
Winkelinfo
Word klant
Registreren
Inloggen
Euro
Euro
US Dollar
Credits
HEK Credits
Puntenbudget
van Zoelen
Omme
Breuro
Voor 17.30 besteld, morgen in huis*
6 dagen per week geopend
Iedere werkdag bereikbaar van 07.00 - 17.30 uur
Startpagina
Machines
Machine, toebehoren
Boorhulzen
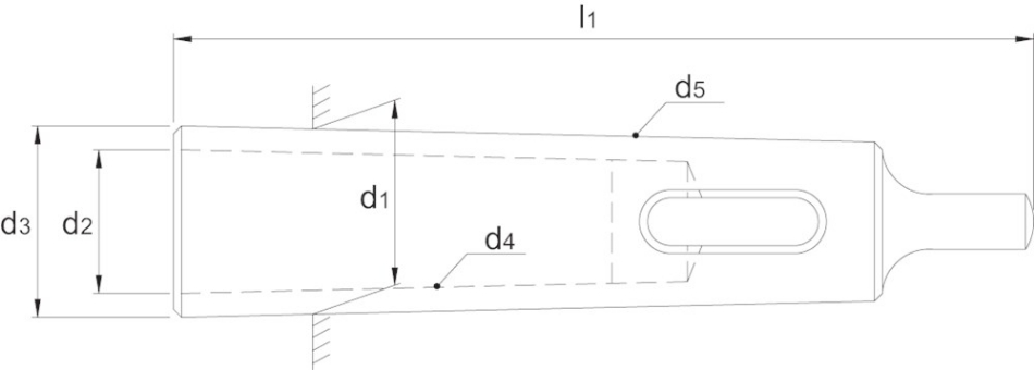
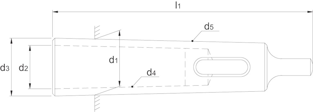
ECO PRO Boorhuls (Reduceerhuls) DIN 2185 MK x MK 84.100 MK4x2
Webshop versie
Tabel (traditioneel)
ECO PRO Boorhuls (Reduceerhuls) DIN 2185 MK x MK 84.100 MK4x2
Algemeen
Product beschrijving
Product specificaties
Product beschrijving
DIN 2185, geheel gehard en geslepen
Lees meer
Algemeen
Product beschrijving
Product specificaties
Extra omschrijving
Specificaties
DIN 2185, geheel gehard en geslepen
Lees verder
Product specificaties
Attribuut naam
Attribuut waarde
DIN
2185
gereedschapsopname
MK 4
norm
DIN2185
ECO PRO Boorhuls (Reduceerhuls) DIN 2185 MK x MK 84.100 MK4x2
Artikelnummer:
1661240
EAN-nummer:
8716563290308
Fabrikant artikel nummer:
84.100.0402
Product specificaties
Attribuut naam
Attribuut waarde
DIN
2185
gereedschapsopname
MK 4
norm
DIN2185